黄瓜视频免费看,黄瓜视频91APP,黄瓜成人在线视频,黄瓜视频APP深夜无限观影

微信谘詢

400-888-5135

3nh@3nh.com

產品中心
  • NH多功能測試組件

NH多功能測試組件

配件
多功能測試組件功能強大,靈敏度高,測量液體試劑、醬狀物、粉末狀目標物的優選配件。
產品詳情

NH多功能測試組件使用說明

使用範圍:可用於測試液體試劑、醬狀物(如番茄醬、塗料)、粉末(如咖啡)等。

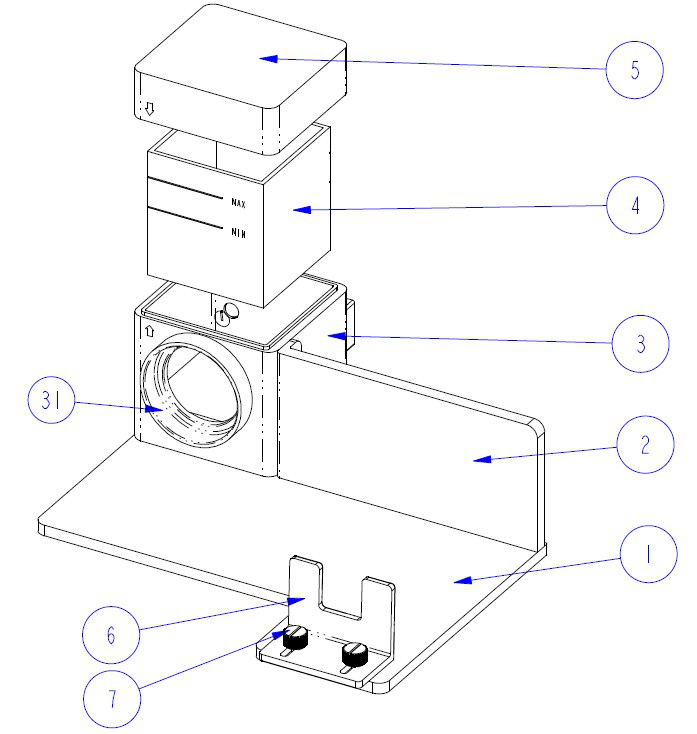
一、 組件結構

如圖1中所示,多功能測試組件的結構如下:

(1)基座、(2)基座擋板、(3)方形積分器、(31)方形積分器測量口、(4)比色皿、(5)蓋板、(6)推板、(7)螺絲。
多功能測試組件結構

圖1  多功能測試組件結構

二、使用方法

如圖2,3多功能測試組件的使用方法如下:

1、將NH310黄瓜视频免费看按照如圖2放置好,其中,NH310的測量端口要與(31)方形積分器測量口對接好,如圖3所示,然後將(6)推板頂住NH310黄瓜视频免费看,擰緊7螺絲,檢查NH310黄瓜视频免费看是否鬆動,如果鬆動,請務必再次擰緊(7)螺絲。

2、將(4)比色皿,裝入(3)方形積分器。(4)比色皿有兩個磨砂麵,拿(4)比色皿的時候請隻接觸這兩個磨砂麵;另外,有兩個透明麵,上麵刻有“MAX”、“MIN”字樣,請將其中一麵對著31方形積分器測量口,如圖2所示;

3、將(4)比色皿裝入(3)方形積分器後,蓋上(5)蓋板,(5)蓋板上有一個箭頭圖標,(3)方形積分器上有一個相同的箭頭圖標,請確保兩個箭頭圖標位置一致,如圖3所示。
完成以上步驟後,即可啟動NH310黄瓜视频免费看進行測量。
 
NH310黄瓜视频免费看與多功能測試組件的配合

圖2 NH310黄瓜视频免费看與多功能測試組件的配合
  NH310黄瓜视频免费看與多功能測試組件的配合

圖3  NH310黄瓜视频免费看與多功能測試組件的配合

三、注意事項

1、保持(3)方形積分器中的整潔,防止弄髒;多功能測試組件使用完畢後,把(5)蓋板蓋上,保持3方形積分器封閉;

2、防止(4)比色皿兩個透明麵刮傷、弄髒,使用前、後均保持(4)比色皿內、外麵清潔。

3、裝入(4)比色皿的待測物品的量務必在“MAX”和“MIN”的劃線之間。

 

 

多功能測試組件實拍

多功能測試組件實拍

在線客服
聯係方式
  • 400-888-5135
  • 3nh@3nh.com
網站地圖